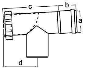
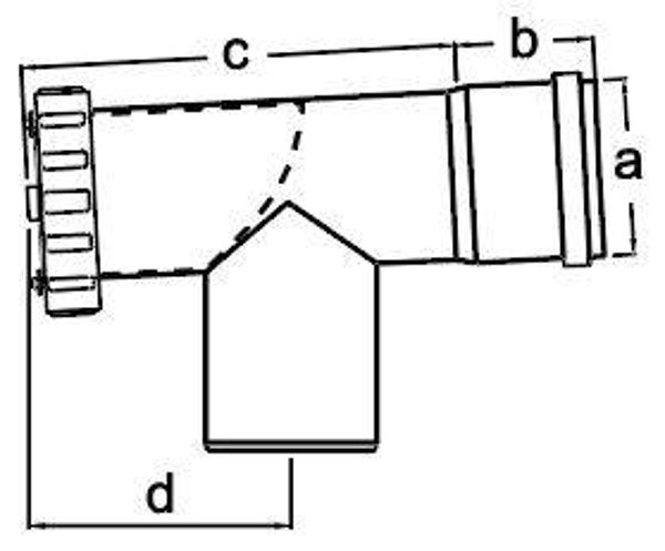
Ø110 │ Umlenk-T m. Rev.-Deckel strömungsoptimiert

125,05 CHF
Artikelnummer: PBUTD1-I

Umlenk-T m. Rev.-Deckel strömungsoptimiert · Té dérivation avec trappe de visite et flux optimisé · Deviazione a T con ispez. e flusso ottimizzato