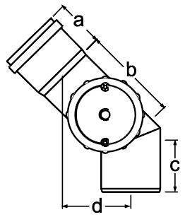
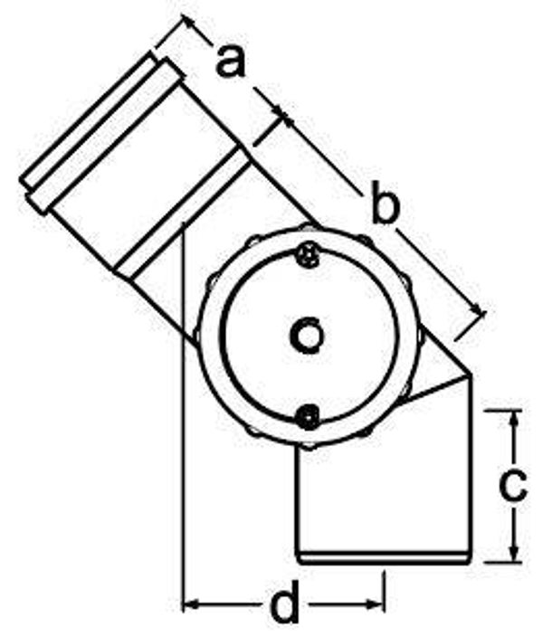
Ø100 │Revisionsbogen 45° seitl. links

78,60 CHF
Artikelnummer: PBRL4X

Revisionsbogen 45° seitl. links · Coude 45° avec trappe de visite à gauche · Curva ispez. 45° sinistra