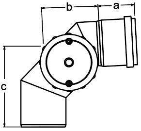
Ø110 │Revisionsbogen 87° seitl. rechts

82,55 CHF
Artikelnummer: PBRR91

Revisionsbogen 87° seitl. rechts · Coude 87° avec trappe de visite à droite · Curva ispez. 87° destra